ВНИМАНИЕ НОВИНКА!!!!!
СТАРТЕР С ПЛАНЕТАРНЫМ РЕДУКТОРОМ ДЛЯ Т-25,Т-40, МТЗ 12 В 4,9/6,0 КВТ С ДОП. РЕЛЕ
ЦЕНА 475 РУБЛЕЙ

поршневая группа КамАЗ 740.60-1000128 серия Дальнобой (ЕВРО 3) арт. 388 руб
арт. 388 руб
поршневая группа КамАЗ 740.60-1000128 серия Дальнобой используется для установки на следующие виды двигателей :КамАЗ -740.60 (Евро-3) и его модификации.
Кросс-код: 12094101, 12094F101, 7.12094101-10, 7.12094F101-10
состав комплекта:
| Гильза | 740.51-1002021 (Т) | 1 шт |
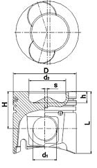
| Поршень | 740.60-1004015-41 | 1 шт |
| Комплект п/колец | 740.30-1000106 | 1 п/к |
| Поршневой палец | 740.60-1004020 | 1 шт |
| Кольцо стопорное | J45х1,75 DIN 472 | 2 шт |
| Кольцо уплотнительное гильзы | 740.1002024 | 2 шт |
| Кольцо уплотнительное гильзы верхнее | 740.1002031 | 1 шт |
Технические характеристики комплекта:
| Гильза 740.51-1002021 (Т) | ![]() | ![]() |
| Поршень 740.60-1004015-41 | ![]() | ![]() |
| Поршневой палец 740.60-1004020 | ![]() | ![]() |
| Комплект п/колец 740.30-1000106 | ![]() | |
производитель
Мотордеталь Кострома
Если вы хотите купить поршневая группа КамАЗ 740.60-1000128 серия Дальнобой (ЕВРО 3) , вы можете:
Позвонить:








