Уважаемые партнёры!!! С 9.03.2026 г. у нашей компании новый адрес: г. Минск, улица Кнорина, д. 50
поршневая группа двигателя УМЗ (421.1004014) арт. нет в наличии
арт. нет в наличии
поршневая группа двигателя УМЗ (421.1004014) используется для установки на следующие виды двигателей : 4218.10, -421.10, -4213.10, -4215.10, 4216.10. Техника: автомобили УАЗ -34519, -396259, -33036, -39094, «ГАЗель», «Соболь»В состав поршнекомплекта входят:
Поршень 421.1004015-02 -4 шт
Палец поршневой 421.1004020-4 шт
Кольцо стопорное 21-1004022-01-8 шт
Количество цилиндров: 4
Технические характеристики комплекта:
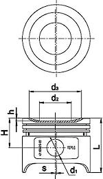
| Поршень 421.1004015-02 | ![]() | D= 100,0 /+0,048; -0,012/ L =80,0 H =43,5±0,05 d1 =25,0 /-0,01/ d2 = 47,0 d3 =77,0±0,01 h = 4,00±0,01 s =1,5±0,01 m= 0,555±0,02 кг |
| Палец поршневой 421.1004020-01 | ![]() | D=25,0 /-0,01/ L=66,0 /-0,12; -0,32/ d=15,0 /+0,22/ m=0,160±0,001 кг. Материал — сталь 15Х Поверхностная термообработка Высокая механическая прочность Кольцо стопорное 21-1004022-01 (2 шт.) |
производитель
МД-Конотоп
Если вы хотите купить поршневая группа двигателя УМЗ (421.1004014) , вы можете:
Позвонить:

